忍者ブログ
中途半端な人の中途半端なブログ
start 2007/01/18
end 2009/09/01
プロフィール
HN:
壁(エクス)
年齢:
36
HP:
性別:
男性
誕生日:
1989/01/27
職業:
ヤンデレ
趣味:
アニメ鑑賞と読書
自己紹介:
大阪府に住むO型の人。
どう考えても迷走中
つまり眼鏡っ娘とシャナはかわいいってことですよね
今は嶺上開花がんばってます。

カレンダー
日にち感覚を取り戻そう!!
09 2025/10 11
S M T W T F S
1 2 3 4
5 6 7 8 9 10 11
12 13 14 15 16 17 18
19 20 21 22 23 24 25
26 27 28 29 30 31
最新コメント
[09/19 壁]
[09/19 めぽ]
[09/01 ぴか]
[08/14 洸]
[08/12 吹]
最新記事
カウンター
ブログ内検索
バナーとか
               【真・恋姫†無双】応援中!
真剣で私に恋しなさい!
バーコード
[PR]
2025/10/12(Sun) 11:48:29
×

[PR]上記の広告は3ヶ月以上新規記事投稿のないブログに表示されています。新しい記事を書く事で広告が消えます。

画像が見えればそれでおk
2007/11/21(Wed) 22:04:00
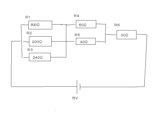
3ed25f90.JPG



問1  R1R2R3の合計抵抗値を求めよ
問2  R4R5の合計抵抗値を求めよ
問3  R6を流れる電流値を求めよ


問4  R4を流れる電流値を求めよ
問5  R5にかかる電圧値を求めよ
問6  R3にかかる電圧値を求めよ



1:24追記~

直列の時の抵抗値の出し方は普通に足せばおk
例→200Ω+100Ω=300Ω

↓並列の時の合計の抵抗値の出し方↓
    
         R4×R5
        ―――――  =合成抵抗
         R4+R5


↑この公式を使えばある程度は解けるよ
合成は合計だと思ってくれておk

さぁ、技術の先生が100点阻止の為に?作った問題を皆で解こうぜw
PR
この記事にコメントする
NAME
TITLE
MAIL
URL
MESSAGE
PASS   Vodafone絵文字 i-mode絵文字 Ezweb絵文字

無題
なんという問題まず最初に全部のI(電流)を求めろと。。
これはなんだ?


R6から並列にR4、R5って分かれて

R5からR1、R2,R3って分かれるのか。。

R4の接続はどこなんだ。。。


R123につながってるのか?
がぁちゅ 2007/11/21(Wed)23:51:12 編集
無題
これは電気の問題だも
工業高校生に聞くと「1年の時にやったのになんで知ってるんだよww」とのこと
全部の電流を求めるにしても抵抗値が解らないと出せないから追記してみたんだも

図が悪いからだと思うけども
R1+R2+R3

R4+R5

R6
っていうような回路だと思ってくれればいいかと

自分もイマイチ解ってない分説明があやふやw
テストが帰って来しだい答え乗せるつもりなんで
暇だったら本気で解いてみては?w
エクス 2007/11/22(Thu)01:34:14 編集
無題
100点防止の問題にしてはまじめに勉強していれば解ける問題だな
基本事項と並列、直列の計算が分かれば
あっさり解けるな
答え?今勉強中だから勉強終わったら解いて
だしてやる
あと電気苦手ですがなにか('A
がぁちゅ 2007/11/22(Thu)21:10:53 編集
この記事へのトラックバック
この記事にトラックバックする:
忍者ブログ [PR]

Designed by A.com